凤凰涅槃!心通达OA2025版发布

     2025,凤凰涅槃,万事皆成!遇见你,预见美好发生!

2025年9月18日,北京高速波软件有限公司发布心通达OA 2025版智慧办公产品,一举打破OA行业的寂静,为行业发展带来了新的动力,彰显OA行业老兵的扛旗引领责任。心通达OA在2025版的研发过程中,完成了“凤凰涅槃”式的新生,新版产品将给广大OA用户带来新技术、新功能和更智慧的办公体验。

技术层面,心通达OA 2025版紧密围绕AI大模型技术应用开展研发工作,从产品设计、功能改造全面接入AI大模型技术,研发了DeepSeek助手、AI写作工具、AI决策分析中心等创新性智慧办公应用。功能层面,重点研发改进了CRM客户管理,引入了客户公海模块,同时内置了全新的通用型项目管理系统,目标是在一套心通达OA系统中,完成这些常用需求的落地。升级改进层面,采纳广大用户的意见建议,重点改进了流程、公文及日常办公模块的相关功能,比如流程增加并行节点、在线Office文档盖章及密码锁、移动办公阅读及编辑Office文档等功能。通过新技术的应用,新功能的开发,原有功能的改进,心通达OA 2025版实现了全面的产品提升,可以满足新老用户对心通达OA2025版的满心期待。

心通达OA为技术驱动型OA平台,以精湛的技术研发和优秀的产品服务,赢得了全国各地的合作伙伴、广大新老用户的信任和厚爱。本次心通达OA 2025版的发布,也是高速波公司、合作伙伴、广大用户合作成果的结晶。高速波公司期待经过“凤凰涅槃”式新生的心通达OA产品,以极高的产品性价比,为更多政府机构、事业单位、上市企业和中小微型公司服务。

  • 心通达OA 2025版咨询方式
  • 心通达OA2025版采购和升级咨询热线4000-996-518,欢迎新老客户咨询。

    心通达OA2025版在线交流QQ群555468526,欢迎新老客户加入交流。

    欲了解更多心通达OA2025版功能特点,请点击浏览 心通达OA2025版产品发布专区

  • 心通达OA 2025版产品亮点
  • ●正式发布DeepSeek 助理

    心通达OA DeepSeek 助理提供DeepSeek-V3、DeepSeek-R1、硅基流动、通义千问四种响应用户指令的大模型,方便快捷给出用户提出的各种问题的参考文案,是用户的AI效率助手。


    ●正式发布心通达OA AI写作工具

    心通达OA AI写作工具应用于电子邮件、工作日志、工作流、公告通知、新闻、文件柜、人事档案、公文正文等模块,可辅助用户完成内容的扩写、缩写、润色、校对、格式美化、改写、友好、正式、简洁、摘要、要点、列表、表格、创作等工作,实现AI辅助写作智慧功能。


    AI写作工具应用于公文智能撰写,在公文正文页面,选中正文内容,点击使用AI写作工具的创作功能,实现对选中正文内容进行公文撰写。


    下图为根据标题《2025年高速波公司劳动节放假通知》撰写的文章,格式规范,内容完整,稍加修改便可以使用。


    工作流会签意见的AI意见整理,可以在工作流办理页面、查看详情页面,点击AI意见整理按钮,实现对当前流程的意见内容进行智能整理。


    上图中3条会签意见,通过AI意见整理工具,智能整理后的效果如下图。



    ●正式发布心通达OA AI决策分析中心

    心通达OA AI决策分析中心充分应用大模型技术,通过决策分析知识点设置的AI决策分析模型提示词,打破传统报表系统生成报表的流程和模式,方便、快捷、智能地生成饼状图、柱状图、曲线图和表格等报表。


    ●集成中标慧康Office文档在线查阅、编辑服务

    心通达OA2025版完成与国产Office文档产品中标慧康的完美集成,为信创国产化Office文档技术再增加一个国产化可选成熟方案。同步支持Office文档在WEB端,移动端编辑和预览。

    支持公文正文采用中标慧康实现套红。


    ●提供更丰富的流程节点类型

    流程中心的流程步骤设置,提供更丰富的节点类型,新增柔性节点、并行节点和顺序节点类型,配置更灵活,功能更强。


    ●全面改版的CRM客户管理

    借鉴航天开元、数字医学出版社等CRM项目经验,总结提炼通用CRM功能完成心通达OA 2025 CRM客户管理模块的改版,引入了客户公海等概念,达到通用CRM管理标准。


    ●全新研发项目管理

    心通达OA2025版删除复杂场景的行业项目管理模块,全新研发通用型项目管理模块,可完成项目信息管理,项目任务分派,管理者能够监督每个人的任务执行情况,体现里程碑和甘特图的展现效果。


    ●支持国密算法加密

    心通达OA2025版开始支持国密算法,可以对加密数据进行国密加密或国密解密,如对用户身份证号等进行国密加密、解密。


    ●支持在线文档盖章

    心通达OA2025版推出无插件Office文档在线编辑、预览功能,同时支持在文档中使用速卓电子印章进行盖章,针对盖章文档加密码锁。


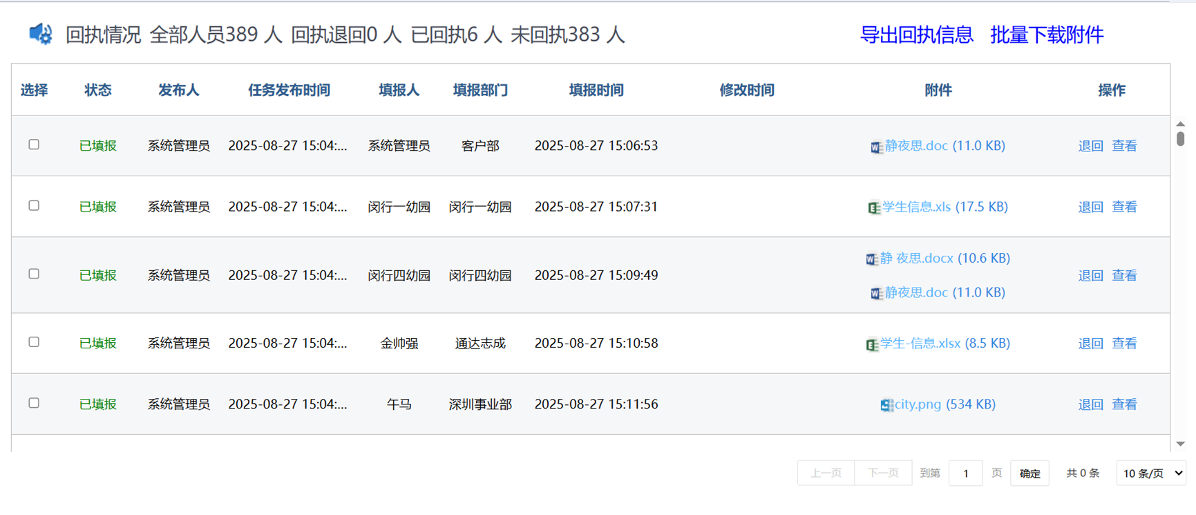
    ●支持公告通知回执

    日常工作中,单位往往需要进行高效、准确、按时的数据收集,心通达OA的公告通知回执功能,可以满足这一现实需求。在数据收集过程中,可以自动统计回执情况,包括总数、回执数、未回执数,如果回执数据不符合要求,还可以退回重填。针对未回执人员,还可以进行回执催办。回执完成后,可以导出回执信息,批量下载回执的附件等操作。此功能非常方便实用。


    ●增加投票管理复制功能

    投标管理模块,增加投票复制功能,用户可以以之前投票数据为模版,快速发布类似投票业务,提高工作效率,用户体验也非常好。


    ●全新改版的移动考勤

    心通达OA2025版全新改版了移动考勤功能,新的移动考勤更易用,功能细节更丰富。

  • 心通达OA 2025版更新内容
  • 心通达OA2025版对心通达OA的核心功能进行了精心研发改进, 吸收了客户或伙伴大量的建议,改进功能达700多项,详情如下。

  • 【综合】
  • 新增用户管理、选人控件等查询用户去除被标记删除的用户

    新增onlyoffice插件打开office文件页面,插件页面加载的onlyoffice提供的依赖文件下载、替换为本地文件户

    新增登录时密码验证通过后,增加判断国密开关和密码长度更新重新加密后的密码

    新增修改用户和修改密码,增加判断国密开关和密码长度更新重新加密后的密码

    新增华为鸿蒙系统消息推送功能

    新增AI写作工具,应用在电子邮件、工作日志、工作流、公告通知、新闻、文件柜、人事档案、公文正文等模块。AI写作工具功能分别是扩写、缩写、润色、校对、格式美化、改写、友好、正式、简洁、摘要、要点、列表、表格、创作

    新增荣耀推送功能,接入获取鉴权接口,获取荣耀推送token接入消息推送接口,新增荣耀设备事务提醒和IM消息提醒推送

    新增数据归档功能,电子邮件、工作日志、流程中心等模块增加归档操作,当数据量大时,可以提高查询速度

    优化内置文档预览,调整优化预览界面,兼容大文档过大时文字挤压在一起的情况

    优化onlyoffice,excel文件盖章完成后调用插件方法录入保护密码进入文档保护功能

    优化onlyoffice插件打开office文件功能,word和excel类型的文件在盖章后录入印章的保护密码、实现文档保护功能的源码

    优化各模块已上传的office格式文件-使用过onlyoffice的盖章插件后,使用文档设置-各种插件

    优化百变灵动主题考勤小组件

    优化雨过天青主题

    优化事务提醒,已发送提醒,分页查询接口重复查询问题

    优化事务提醒,查询提醒分类接口卡慢导致查询界面卡死问题

    优化流程排序功能

    优化百变灵动主题字体跟随主题字体

    优化时尚全能主题-左侧菜单栏门户样式调整,仿造菜单栏增加门户图标,展开方式调整为折叠展示

    优化OA登录时卡慢问题,优化查询用户登录日志接口逻辑提升查询效率

    优化个人门户页面配色调整,页面流程组件,调整流程名字长度过长溢出 鼠标悬浮显示全部内容 邮件内容调整

    优化各主题登录页面,调整用户名、密码html结构和登录提交数据的方式,实现edge浏览器兼容模式下可以记录用户名、密码的效果

    优化经典主题首页页面,右上角调整城市定位地点的功能按钮点击下拉箭头无反应的效果

    优化事务提醒,查询已发送提醒和事务提醒分类接口特别缓慢问题修改

    优化WPS查询套红模板,优化查询接口增加兼容

    优化产品代码所有登录主题页面,整体处理页面底部备案号跳转工信部链接的功能

    优化天气查询逻辑修改,天气数据查询保存到附件目录,当日同城市天气查询附件目录缓存

    修正内置文件预览接口,兼容部分情况下文件格式错误导致的预览空白的问题

    修正获取用户信息接口,调用改为获取当前登录人信息接口

    修正登录接口,增加userAgent判断,防止篡改userAgent跳过验证码验证

    修正onlyoffie编辑文档,协同编辑失效无法查看其他人正在编辑信息的问题

    修正onlyoffice编辑,进入编辑界面后,编辑模式是审阅编辑不是普通编辑的问题

    修正办公管理门户中最新文件,部分传阅的公文已读后还显示未读的标志问题

    修正文件下载公共接口,特殊字符导致的文件下载后名称缺失的问题修改

    修正时尚全能主题下,加载门户页面会默认全部加载,导致打开首页页面加载缓慢的问题,调整相关的逻辑功能代码

    修正流程门户名字过长导致页面错乱,按钮线超出了边框遮挡了数据

    修正我的门户中邮件组件的刷新按钮和其他按钮的距离未保持和其他组件一样,部分组件例如新闻、日程安排等鼠标光标放上去没有像其他组件一样的淡蓝选中效果

    修正事务提醒,未确认提醒和已发送提醒中的数据列表随浏览器比例缩放不占满问题

    修正我的门户新闻组件中的新闻列表字体和公告、文件柜等组件的字体不一致,且数据之间没有横线分割

    修正登录页面,密码框去除掉不允许录入、保存密码的问题,调整密码框input相关属性

    修正选人控件,公共分组和个人分组中包含已被逻辑删除的用户时查询分组中的用户报错问题

    修正ie内核浏览器下,pdf文件预览页面加载ntko插件失败、显示空白页面的问题

    修正各主题的首页页面,tab栏当前所选标签页面会定时刷新页面导致多次执行地点、天气接口的问题

    修正各主题的首页页面,定时获取事物提醒的功能,获取信息接口会一次执行多次的问题

    修正事务提醒发送人被删除的情况下,在事务提醒菜单可以查到事务提醒,右上角事务提醒中查不到问题

    修正产品日历小组件翻页后日历顺序错乱问题

    修正反馈我的门户今日看板中的待办发文数量计算不正确问题

    修正附件文件下载名称与上传名称不一致

    修正组织授权用户数量包含了禁止登录用户问题

    修正产品 门户设置 百变门户默认布局无法拖拽问题

  • 【个人事务】
  • 新增控制面板中修改密码接口增加判断,系统为演示系统禁止用户修改自己的密码

    新增个人事务,工资查询,我的工资数据查询和我的奖金数据查询接口增加只查询已确认的工资/奖金

    新增“DeepSeek 助理”,用户可在输入框中输入关于 OA 使用的问题或任务需求

    新增邮件分发模板中附件的扩展名支持不区分大小

    新增邮件分发支持附件可以一次多发,附件之间用逗号或分号隔开(不区分半角/全角)

    新增个人事务,个人考勤,用户当日无排班时显示用户默认考勤类型

    新增个人事务,个人考勤,APP打卡接口增加记录考勤常用手机

    新增个人考勤,打卡定位允许选择多个位置

    新增个人事务,事务提醒,点击事务提醒查询提醒详情

    优化电子邮件外部邮件列表展示收发地址及端口

    优化个人文件柜高级查询

    优化h5电子邮件新建页面左侧字段显示问题

    优化电子邮件,邮件每次往下滚动翻页的时候 都会重新请求右侧的邮件详情问题

    优化个人事务-工资查询的h5页面,展示我的工资数据列中显示金额的逻辑

    优化系统各模块上传的图片文件,点击预览使用图片插件加载页面查看时,右键使用浏览器打印功能加载的图片页面效果

    优化个人事务-工资查询页面,工资数据存在小数点很多位数据时的展示效果

    优化电子邮件,查询审批邮件

    优化个人事务,电子邮件,优化废纸篓查询接口卡慢问题

    优化个人事务,电子邮件,优化废纸篓中清空废纸篓接口卡慢问题

    优化个人事务,公告通知-公告查询,新闻-新闻查询,查询条件框长和长没有对齐,短和短没有对齐

    优化事务提醒功能 系统类型提醒没有可跳转页面时跳转详情页面

    修正电子邮件收件箱和发件箱转发,不自动填写收件人信息

    修正个人事务,电子邮件,设置了邮件审核规则的情况下,草稿箱中的邮件发送未经审核可以直接发送问题

    修正个人事务-通讯簿,点击分组详情显示第一条数据,名称未被选中

    修正个人事务-通讯簿编辑备注字段连点两下备注文字会自动填写在输入框中,无字段提示

    修正个人事务-日程安排页面,新建编辑开始时间可以大于结束时间可以保存,日程页面显示异常

    修正个人事务-通讯录编辑备注无法保存

    修正个人事务,待阅事宜中的传阅流程显示了已删除的流程问题

    修正个人事务,个人文件柜页面全局搜索页面错乱

    修正个人事务,个人文件柜全局搜索创建人无清空按钮

    修正个人事务,电子邮件,收件箱中选择列表显示方式后点击未读列表只显示一页数据问题

    修正个人事务,电子邮件中查看邮件状态部分收件人的状态是已读但不显示查看时间问题

    修正经典主题下,右上角个人事务中没有未确认提醒时会显示部分事务提醒类型

    修正个人事务,日程安排,周期性事务中点击查看事务详情参与者显示错误问题

    修正个人事务,电子邮件,部分情况下已发送、草稿箱、废纸篓里搜索功能无效报错问题

    修正个人事务,工作日志,日志详情点击编辑点评内容无法编辑问题

    修正个人事务,公告通知中未读公告和公告查询中不显示发布人已删除的公告问题

    修正个人事务,个人考勤中加班流程列表查询报错不显示问题和加班开始时间格式错误问题

    修正个人事务,电子邮件,草稿箱、已发送、废纸篓中搜索输入收件人姓名搜索不出来问题

    修正个人文件柜根目录查看详情失败

    修正控制面板中保存个人资料接口可以修改当前用户的角色问题

    修正控制面板,修改个人资料接口可以修改密码字段问题

    修正用户修改扩展信息,包括昵称、用户名片图片、讨论区签名档接口可以修改部门、角色、密码数据问题

    修正个人事务-工资查询的h5页面,接口返回工资数据显示金额含有小数点异常的问题

    修正个人事务,通讯簿,修正根据id获取联系人详情接口报错问题

    修正个人事务,电子邮件,左侧邮件列表点击排序选择升序或降序查询报错问题

    修正个人事务,投票,多选类型投票点击查看投票结果报错问题

    修正个人事务,个人文件柜,点击查看文件提示数据已被删除,点击编辑文件空白问题

    修正个人事务,电子邮件,收件箱中转发邮件不显示附件问题

    修正个人事务,投票,查看已终止的投票,部分情况下不能导出投票结果问题

    修正个人事务,日程安排,在APP上新建的日程,在网页端点击详情无法编辑问题

    修正个人事务,电子邮件,勾选邮件后点击撤回,撤回的不是选中的邮件问题

    修正个人事务,电子邮件,查询邮件中已发送邮件,点击转发后邮件发件人和发件内容错误问题

    修正个人事务,电子邮件,收件箱中转发邮件提示报错信息问题

    修正个人事务,电子邮件,废纸篓查询列表接口报错问题

    修正个人事务,电子邮件,废纸篓中排序根据是否已读和星标条件排序报错问题

  • 【任务管理】
  • 新增任务管理,父任务跳转子任务

    优化我的任务事务提醒

    优化任务管理-下属任务,部门负责人和部门助理可以查看当前部门和下级部门用户的任务

    修正任务管理,我的任务页面新建编辑,项目成员禁止手动输入

    修正任务管理-我的任务,编辑项目页面保存失败

  • 【流程中心】
  • 新增工作流,办理流程,增加表单数据控件

    新增工作流,办理流程,增加表单数据控件,已引用流程字段记录功能

    新增web端工作流/公文-正文,文档设置-中标慧康插件方式加载,office格式的正文通过该插件打开的功能

    新增web工作流/公文-正文,文档设置-中标惠康插件加载,根据该流程步骤下的正文操作功能权限设置显示对应功能按钮

    新增流程全局设置增加部门权限角色权限设置

    新增工作查询页面,支持按照流程名、流程发起人排序,相同的排在一起

    新增表单设计器,列表控件增加控制是否显示序号的设置项

    新增web端工作流办理页面,列表控件渲染列表结构时根据新增加的设置项判断序号列是否显示的功能;点击新增按钮时,新创建的列表控件数据行中序号列根据序号列设置项显示或隐藏的功能

    新增web端工作流查看详情页面,列表控件显示已保存的表格数据功能,根据新增加的序号列设置项判断是否显示的功能

    新增流程全局设置增加部门权限角色权限设置

    新增流程设置归档公共文件柜功能

    新增web端工作流查看详情页面,列表控件增加判断控件值合计行是否存在数据从而控制合计行显示或隐藏的功能

    新增速卓签章新建和编辑,增加验证注册文件是否有“速卓电子印章”和“onlyoffice密码保护”组件

    新增速卓签章增加是否开启OnlyOffice盖章密码

    新增流程中心,工作流设置,设计流程中流程属性增加是否启用流程开关

    新增流程中心,新建工作中全部工作查询、点击流程分类和搜索查询、常用工作、我的收藏以及新建流程增加判断流程是否启用

    新增公文/工作流办理页面-正文,仿照ntko插件的套红功能,完成点击套红按钮打开套红文档加载页面,选择一个套红文件后插入当前正文的功能

    新增工作流,设计流程,流程步骤权限增加盖章权限设置

    新增工作流,中标慧康office,使用流程/公文正文套红

    新增流程中心,新建流程接口增加发起人有多个角色和部门时可以选择发起的角色和部门

    新增流程中心,流程查看详情中更多操作,分享到内部邮件时附件中增加正文附件

    新增新建流程向导增加部门和角色选择

    新增公文/工作流办理页面,打开正文-文档设置选择中标慧康插件加载方式,打开套红文件后获取书签,将公共附件区已上传的文件信息与相应书签替换的功能

    新增公文/工作流办理页面,打开正文-文档设置选择中标慧康插件加载方式,打开套红文件后获取书签,将表单中与书签同名的控件值和书签替换的功能

    新增工作流,我的工作,查询挂起流程后增加查看详情的功能按钮

    新增工作流,流程步骤传阅权限人员查询接口增加分页

    新增流程中心,工作查询,新增批量导出选择的流程的表单内容PDF、表单附件、公共附件和正文压缩包

    新增工作流,流程流转时新增实例步骤接口中增加记录办理用户姓名字段

    新增onlyoffice打开的office文档,流程设计器公共附件区权限增加控制打印的设置项

    新增web端工作流办理页面-公共附件区,已上传的office格式文件使用onlyoffice插件打开编辑页面,根据步骤是否设置盖章权限控制插件中的“盖章”、“确认完成盖章”功能

    新增web端工作流办理页面,公共附件区附件打印权限数据的设置项,onlyoffice打开的office文档根据是否设置打印进行处理

    新增onlyoffice打开的office文档,查看开发文档增加控制插件内部打印按钮显示的功能,增加根据流程设计器公共附件区是否设置打印权限进行控制的逻辑

    新增流程设计器-可写字段,设置办理页面按钮显示/隐藏,编辑按钮名称权限,增加“挂起”权限的保存、回显的功能

    新增-web端工作流办理页面,根据增加的“挂起”权限在右下角底部操作功能栏增加相应按钮,和后台对接完成显示/隐藏权限和按钮名称权限的逻辑功能

    新增设计流程,增加正文PDF手写权限设置

    新增挂起流程页面,完成上方展示流程选择功能框、流水号、流程发起人和查询按钮,下面展示数据列表的页面效果

    新增挂起流程页面,已挂起流程,数据列表的显示功能

    新增挂起流程页面,展示挂起数据列表操作列增加回复按钮

    新增挂起流程页面,数据列表上方的各个搜索项,根据搜索项字段进行搜索的功能

    新增我的工作页面,在tab标签栏中增加挂起工作标签,增加点击切换挂起工作页面的功能 新增工作流,流程挂起自动取消挂起功能

    新增web端工作流办理页面,公共附件区-使用onlyoffice插件打开盖章过的文件,文件名称前增加标记logo显示的功能

    新增流程中心,工作流设置,设计流程,菜单定义中新建流程菜单查询流程数据时增加流程权限判断,无权限用户只能查看发起、经办或传阅的流程

    新增设计流程增加公文正文NTKO WORD手写权限设置

    新增web端工作流办理页面,公共附件区-office文件编辑使用onlyoffice插件打开,使用插件盖章过的文件,文件名称前增加标记logo显示的功能

    新增工作流,挂起流程,增加强制合并流程判断,不允许进行流程恢复

    新增工作流,设计流程,增加柔性节点功能设置

    新增工作流,我的工作,待办查询增加查询柔性工作节点自定义名称逻辑;前端增加展示柔性工作节点自定义名称逻辑

    新增文档校验页面,上传工作文档验证文档盖章功能,增加展示盖章人所属部门的功能

    新增工作流,流程办理,增加柔性节点逻辑功能

    新增工作流,工作监控转交,增加柔性节点逻辑功能兼容

    新增工作流,流程图查询公共接口增加展示柔性节点的自定义字段名称展示逻辑

    新增工作流,工作日志增加柔性节点转交的保存和展示兼容

    新增工作流,设计流程流程并行节点设置和查询增加

    新增工作流,设计流程,流程步骤设计,节点类型增加并行节点

    新增web端办理页面,当前转交步骤设置了柔性节点设置时,在转交下一步弹出层的转交步骤下方增加“添加步骤”按钮的功能

    新增web端办理页面,柔性节点流程点击转交下一步出现的选择下一步骤及经办人的弹出层,完成点击添加步骤增加一个可以自定义步骤名称的下一步骤并且选择可以正常添加主办、经办人的功能

    新增流程设计器,流程步骤设置强制会签增加新的设置,强制会签(可只选择 已阅/同意/不同意)选项功能

    新增流程中心,我的工作,全部工作中新增流程状态列显示流程是否结束

    新增web端办理页面,柔性节点流程点击转交下一步出现的选择下一步骤及经办人的弹出层,增加可以选择增加的动态转交步骤,以及切换回选择正常流转步骤的功能

    新增web端办理页面,柔性节点流程增加的动态步骤点击选择人员打开工作流选人控件页面,可以选择当前节点设置经办人范围的功能

    新增web端办理页面,增加设置了柔性节点并且新增了动态转交步骤后,选择该步骤作为下一步骤时,流程转交接口逻辑调整

    新增web端办理页面,设置了柔性节点、新增了动态转交步骤后,当前步骤节点设置无主办会签状态时,新增动态步骤选择经办人的功能代码逻辑处理

    新增工作流,流程转交,顺序节点转交排序和挂起逻辑增加

    新增工作流,流程转交,顺序节点转交顺序节点根据用户管理倒序排序规则逻辑增加 新增AI意见整理

    新增流程办理,会签办理增加兼容顺序节点办理办理和解除挂起逻辑

    新增工作流,工作监控查询增加兼容查询顺序节点功能逻辑

    新增工作流,挂起工作增加查询顺序节点功能逻辑

    新增工作流,我的全部工作,增加查询引用关系字段

    新增工作流,表单数据引用控件,保存引用关系

    新增表单设计器-表单选择控件,右侧控件操作列增加表单数据控件选项,在ue编辑器控件控制逻辑增加新建、编辑、删除相应控件的功能

    新增表单设计器-表单选择控件,增加新建、编辑控件设置窗口,仿照通达功能增加控件名称、数据来源、映射关系等设置项功能

    新增表单设计器-表单选择控件,和后台对接接口获取相应流程类别数据,添加至数据来源下拉框选项可以选择的功能

    新增表单设计器-表单选择控件,“数据来源”选择了一个流程类别后,获取相应流程表单信息的功能

    新增表单设计器-表单选择控件,根据返回的流程表单数据,将选择的表单html处理获取到所有的控件信息,展示在“映射关系”的下拉选择框中的功能

    新增表单设计器-表单选择控件,设置好流程表单中控件和当前表单控件的映射关系后,点击“添加”在底部生成表格列表展示数据的功能

    新增表单设计器-表单选择控件,新建、编辑打开的弹出框点击确定后,根据控件名称、数据来源、映射关系等设置项在ue编辑器内生成包含相应属性元素的功能;编辑再次打开控件设置项的弹出框,相应设置项回显展示的功能

    新增工作流/公文-正文-设置ntko插件打开,查看插件开发api文档增加wps格式文档通过插件加载的功能

    新增工作流,新建正文前端增加新建wps类型文件正文并兼容老docx正文

    新增工作流,设计流程,增加设置新建wps文件相关权限设置

    新增工作流,工作监控,工作监控查询转交下一步接口增加兼容回退后是否再次流转功能逻辑

    新增web端工作流办理页面,处理表单选择控件设置可写字段以及不可写字段时控件功能的代码逻辑

    新增公文发文/收文,发文登记/收文登记页面在新建公文时增加新的“公文编号”设置项

    新增表单设计器宏控件,增加获取“公文编号”数据的类型

    新增web端工作流办理页面,表单选择控件展示映射关系流程控件数据弹出层,展示相关设置映射关系流程以及控件值的数据列表

    新增流程中心,工作委托,开启和全部开启委托规则接口增加判断是否已有开启状态的相同规则或循环规则的委托

    新增web端工作流办理页面,表单选择控件展示映射关系流程控件数据弹出层,根据设置映射关系获取流程相应控件值的接口功能

    新增web端工作流办理页面,表单选择控件展示映射关系流程控件数据弹出层,增加操作按钮可以将设置映射关系的表单控件赋值的功能

    新增流程中心,流程设置为允许退回上一步骤,我的工作、工作监控中回退时显示当前步骤的所有上一步骤

    新增流程中心,工作查询,新增当前用户角色为系统管理员时显示传阅按钮允许传阅

    新增流程设计增加导出流程图功能

    新增列表控件,根据表单设计的计算公式对列数据进行比较是否符合,根据结果改变表单样式

    新增业务应用接口配置,增加公文归档选项

    新增工作流归档页面,根据业务应用接口配置获取对应数据

    新增流程中心,我的工作,待办、办结、全部工作中移交的流程发起人显示移交前的用户

    新增流程中心,设计流程,工作移交接口添加实例步骤移交的流程运行日志和设计步骤移交的经办权限更新日志

    新增流程中心,工作查询,工作监控列表中移交的流程发起人显示移交前的用户

    新增流程中心,工作查询和工作监控中结束、批量结束流程接口增加结束流程后删除流程的事务提醒

    新增我的工作编辑页面 会签意见增加管理员可以删除会签意见功能

    新增流程中心,流程办理时删除公共附件和表单附件增加删除附件类别工作流日志

    新增流程中心,流程办理时公共附件排序接口

    新增我的工作,公共附件时增加拖拽排序功能

    新增流程中心,我的收藏,收藏夹中的流程新增取消收藏

    新增流程中心,点聚weboffice插件在线编辑公共附件时保存文件接口增加流程编辑附件日志

    新增流程中心,Only Office在线编辑公共附件时保存文件接口增加流程编辑附件日志

    新增流程中心,流程步骤设置中选人过滤规则增加只允许选择本部门和本辅助部门

    新增流程中心,网页端和APP转交时查询步骤可选人员接口增加只允许选择本部门和本辅助部门过滤规则

    优化流程设计器-公共附件区权限,去除新建、删除权限设置项,增加新的处理逻辑

    优化工作流,兼容部分情况下强制合并流程步骤会出现重复事务提醒的问题

    优化流程中心,工作查询中高级查询,系统管理员角色查询权限和工作查询保持一致默认可以查询全部

    优化工作流,新建流程,部分情况下流程日志会出现报错问题修改兼容

    优化工作流,办理流程,查询流程是否已经删除接口部分情况下会出现报错问题修改兼容

    优化web端工作流办理页面-工作流/公文,正文第三个标签设置其他模块页面时,加载效果和鼠标滑动效果样式

    优化web端工作流办理页面-流程步骤设置允许并发的逻辑代码,转交的下一步骤流程节点设置了智能选人或流程预设经办人时不要默认勾选转交

    优化流程管理-工作查询、工作监控页面底部多余滚动条

    优化馈web端工作流办理页面,选择经办人页面选择的用户userId含有特殊字符导致选择逻辑报错异常的逻辑代码

    优化我的工作-新建工作页面发布门户页面自适应配置

    优化web端工作流办理页面,查看wps格式文件能否通过我们的预览插件显示,可以的话增加预览按钮

    优化web端工作流查看详情页面,查看wps格式文件能否通过我们文档设置里面的各种预览插件显示,可以的话增加预览按钮

    优化web端工作流办理页面和查看详情页面,附件上传控件上传的wps文件增加预览、查阅的功能

    优化工作流,流程历史表单功能兼容老旧流程数据总是使用最新表单的问题

    优化工作流,设计流程,定义流程属性设置前缀和后缀必须输入折叠问题

    优化工作查询排序流程名前有数字按照数字先排序

    优化工作流,我的工作,我的工作查询调整查询逻辑,允许查询已经结束的流程,并调整为流程步骤为只允许会签

    优化工作流,工作办理,工作办理转交增加查询非强制并发的步骤是否还有未办理完成的步骤接口逻辑

    优化工作流,设计流程,部分情况下流程步骤中的经办人等信息会查询不出中文名称的问题修改

    优化工作流,我的工作查询接口,增加兼容查询强制合并后挂起流程步骤的逻辑

    优化工作流,我的工作界面,兼容展示挂起流程后会出现报错的问题和去除掉办理等按钮逻辑增加

    优化工作流,流程办理,非强制合并的情况下,强行转交增加提示信息提示是否转交结束

    优化调整内部提醒邮件查询用户,部门,角色名称的逻辑,兼容错误数据的问题

    优化工作流,工作流步骤权限设置传阅人后,转交界面没有根据设置的权限回显人员问题修改,增加根据权限查询

    优化流程设计器,定义流程属性和流程步骤设置页面-设置传阅人、部门、角色的设置项

    优化流程中心,新建流程时选择了部门或角色,设置的相关智能选人规则根据选择的部门或角色查询

    优化工作流,查询流程图接口中的办理用户名修改为从流程实例步骤表中获取,为空时再查询用户表

    优化工作流,会签提醒逻辑优化,兼容通达数据

    优化web端工作流办理页面,经办人点击办理完毕弹出的事物提醒提示框增加选择事务、短信提醒,以及输入事物提醒文本信息的功能

    优化工作流,增加经办人,增加后关闭再次查询会出现名字空白问题

    优化web端工作流办理页面-公共附件区,去除掉权限设置新建、删除时对上传文件按钮和删除按钮的控制权限,调整为通过可写字段是否设置进行控制

    优化web端工作流办理页面,流程挂起功能增加选择自动取消挂起时间的功能框

    优化流程挂起查询列表接口,增加查询流程自动恢复挂起时间

    优化挂起流程页面,和后台对接获取到“取消挂起时间”数据字段;在数据列表增加展示“取消挂起时间”数据列的功能

    优化工作流,待办查询,去除挂起的强制合并流程查询

    优化文档校验页面,上传工作文档验证文档盖章、显示盖章步骤信息的功能;增加显示文件名称、步骤名称的功能

    优化web端工作流办理页面,公共附件区-onlyoffice盖章功能选择速卓印章盖章后,图片大小和真实的大小有差异

    优化挂起流程页面,“取消挂起时间”数据字段在数据列表中后台接口返回数据异常时的展示效果

    优化工作流,办结工作,全部工作,工作委,,列表查询兼容柔性节点自定义名称

    优化工作查询进行自定义参数查询

    优化web端工作流办理页面,公共会签区如果提交了一条会签,再次打开会签提交功能栏时客户默认选择的状态需要重新刷新的功能效果

    优化web端办理页面-转交下一步,唤醒选择下一步骤及主办人的弹出层获取判断办理状态接口报错、异常时,兼容异常状态下的逻辑代码

    优化web端办理页面,设置了柔性节点并且新增、选择该动态步骤作为下一步骤时,流程转交判断逻辑调整

    优化工作流,设计流程,顺序节点排序规则字段增加,调整相应的增删查改接口;调整保存顺序节点,增加默认改为无主办人会签功能逻辑

    优化web端办理页面-当前步骤设置为强制并发、不允许取消并发步骤时,增加了勾选新增的动态转交步骤节点,切换回强制并发功能框的逻辑代码

    优化web端工作流办理页面,柔性节点流程增加动态转交步骤并且勾选上后,弹出层元素内部竖向滚动条位置加载效果

    优化web端工作流办理页面-允许并发流程-“不允许取消并发步骤”,转交下一步当前勾选节点勾选逻辑代码优化

    优化工作监控,兼容无主办人会签数据在工作监控中会直接转交的情况兼容

    优化工作流/公文-正文,使用ntko插件打开时,增加选择wps格式文件上传并打开的功能

    优化web端工作流办理页面,仿照其他按钮格式控件优化表单选择控件按钮的css样式效果

    优化web端工作流办理页面,表单选择控件展示映射关系流程控件数据弹出层,优化获取流程相应控件值的接口传输参数

    优化web端工作流查看详情页面,列表控件显示合计行数据时合计列的显示效果

    优化藏青项目反馈文档问题-web端工作流办理页面,右下角点击归档和导出按钮的代码逻辑,增加加载等待功能

    优化流程中心,列表控件内部数据源查询,单一字段查询条件支持多条件查询

    优化工作流办理页面,更多操作-文件下载,显示的下载文件

    优化流程中心,兼容word文件中包含不识别的高亮样式报错问题

    优化业务应用接口配置,新建规则时增加判断是否已存在相同的业务规则类型

    优化优化发票报销流程,发票转交插件,通过表单字段类型也能去关联操作报销的发票

    优化流程中心,本人本步骤的会签,流程回退后允许删除

    优化公文管理-公文设置,添加、修改设置,上级单位、下级单位不能选择全体部门

    修正流程中心,流程报表中的申请人显示为空问题

    修正流程中心,流程办理转交时选择了传阅人,转交提示报错但实际已经转交了问题

    修正公文和流程在已办中点击传阅,选择传阅人后提示报错问题

    修正办结工作页面,点击操作列中的传阅按钮,选择人员后点击确定提示为空的问题

    修正流程中心,工作查询,设置表单字段条件为不等于时点击查询接口报错问题

    修正工作流,设计流程,流转设置,自动归档到档案中报错无法保存和取消问题

    修正web端工作流查看详情页面-工作流/公文,正文第三个标签设置其他模块页面时,个别流程加载的模块名称显示undefined的问题

    修正流程中心,我的收藏,无收藏目录时查询接口报错问题

    修正流程中心,工作查询中编辑已结束流程,表单中列表控件点击导出报错问题

    修正工作流,流程手动转存到文件柜接口,正文文件转存后会出现预览报错的问题

    修正表单设计器,编辑、保存后表单中的控件显示为不可编辑状态的问题

    修正工作流,流程新建,部分情况下新建失败的错误数据会导致可以无限新建流程步骤的问题

    修正流程中心,在流程设置中传阅部门设置了全体部门,转交时只默认选择了部分用户问题

    修正工作流,流程传阅使用全部部门无法正常查询出用户问题

    修正流程批量转交按钮权限问题

    修正工作流,设计流程,不设置经办人直接设置智能选人“部门内符合条件所有人员”会数据报错问题

    修正国产操作系统,工作流附件下载会出现文件名乱码问题修改

    修正流程中心,工作监控,流程转交选择子流程步骤节点时没有可选择的经办人问题

    修正工作监控,转交子流程无法选择人员问题

    修正流程中心,工作查询中部分流程表单上的附件不能预览和下载问题

    修正办公管理门户中最新文件显示了部分没有传阅给自己的公文问题

    修正流程中心,工作监控中转交流程下一步骤选择子流程步骤,查询经办人时步骤id错误问题

    修正表单设计器,编辑表单中的附件上传控件,编辑点击确定后位置发生变化的问题

    修正流程中心,表单设计中数据选择控件,自定义数据来源选项显示不完整问题

    修正工作流办理页面,设置可写权限、未设置合计的列表控件点击新增按钮,合计行会显示的问题

    修正流程中心,工作监控,转交时选择经办人可以选择已经逻辑删除的用户

    修正流程中心,工作流设置,工作流日志中,删除经办步骤日志记录错误问题

    修正流程设计器,设置可写字段-控件名称含有空格设置可写权限失败的问题

    修正表单设计器,个别流程表单创建控件会出现控件ID重复无法保存的问题

    修正工作流,并发节点同时是强制合并步骤的情况下,部分设置条件下会出现挂起导致无法办理的问题

    修正web端工作流办理页面,表单存在多个图片上传控件,上传相同图片失败的问题

    修正流程中心,流程详情发表传阅意见后,会签意见区会显示两条重复的意见问题

    修正在表单设计器-列表控件-“序号列”设置隐藏,web端工作流办理页面个别列表控件-输入项的行、列出现加载错乱的问题

    修正在表单设计器-列表控件-“序号列”设置隐藏,web端工作流办理页面个别列表控件-合计行,出现加载错乱的问题

    修正web端工作流办理页面-在ie内核浏览器下,工作流/公文的正文标签以及关联应用设置、关联外部表单标签显示异常的问题

    修正流程中心,流程查看详情,更多操作中点击归档查询流程正文附件报错问题

    修正流程中心,流程查看详情中更多操作,分享到公告时没有公共附件问题

    修改工作流流程步骤传阅权限人员接口名

    修正流程中心,工作流设置,流程设计中点击预览表单时接口报错问题

    修正流程中心,流程办理时子流程还在办理,父流程已经流转下去了的问题

    修正工作流,流程型应用设置未配置查询字段和列表字段时点击自定义菜单报错问题

    修正新增接口查询流程日志中的办理人和实例步骤中办理人,对比修正保存到流程实例步骤用户姓名字段

    修正表单设计器-数据选择控件,使用的下拉框加载插件异常导致无法选择选项的问题

    修正流程实例步骤用户姓名接口,流程图中回退步骤的用户名未修正问题

    修正web端工作流办理页面,未设置底部操作按钮权限时,表单和正文底部会出现灰色背景框遮挡的问题

    修正web端工作流办理页面,公共附件区设置可写字段时上传文件按钮不受到设置项控制显示和隐藏的问题

    修正工作流,设计流程,自动归档设置,设置完后重新打开界面不回显问题

    修正工作流,工作流挂起查询接口搜索无效

    修正流程中心,菜单定义中新建流程菜单,根据条件查询流程后点击导出的是全部流程数据问题

    修正流程中心,菜单定义中新建流程菜单,条件查询输入条件中包含等于号时搜索数据不准确问题

    修正工作流,新增加的流程保存,增加兼容表单字段过多新创建flow_data表会报错的问题修改

    修正工作流,流程保存,兼容表单字段过多,已有flow_data表会报错的问题修改

    修正工作流办理页面设置计算公式中含有获取列表控件某一列值的计算控件,列表控件新建行会导致计算控件显示数据为0的问题

    修正外出申请流程表单中获取时间的宏控件显示异常数据的问题

    修正流程中心,待办工作中勾选流程进行批量转交,可写字段已经有值的情况下的会被覆盖为空问题

    修正流程中心,工作监控,子流程结束后父流程在工作监控中不能转交下一步问题

    修正流程中心,我的工作,全部工作中已结束的流程还能点击办理问题

    修正查询工作类型流程菜单,根据条件查询自定义查询条件为空时查询接口报错问题

    修正流程设计器页面,出现设置项文本显示错误、单选框不对齐等页面元素样式错乱的问题

    修正web端工作流办理页面,公共附件区、公共意见区内元素样式显示错乱的问题

    修正工作流,流程转交,部分情况下转交下一步,下一步的流程名为空问题修改

    修正流程中心,工作流设置,流程设计器中步骤流转设置是否可以取消并发步骤设置否不生效问题

    修正流程中心,工作监控,查询条件中优先级选择紧急,点击查询无数据问题

    修正流程中心,流程表单包含SQL语句查询宏控件时,流程办理查询宏控件数据接口报错问题

    修正流程中心,流程步骤设置为明确指定主办人,流程办理转交下一步时切换为无主办人会签,会签步骤办理时无法转交问题

    修正web端办理页面-强制并发步骤-设置允许取消并发步骤,勾选一个设置为不允许并发的步骤节点无反应的问题

    修正工作流/公文正文,在ie和360兼容模式浏览器下,无法显示正文、选择的问题

    修正流程设计器-流转基本设置,选择下一步骤点击弹出层选择具体步骤弹出层样式错乱的问题

    修正测试问题-web端工作流办理页面-强制并发流程,流转设置设置可以取消并发步骤时选择下一步骤节点包含结束步骤逻辑异常的问题

    修正流程中心,流程办理时,下一步骤设置允许自动跳过,且下一步骤可转交多个步骤时,只显示了一个间隔步骤问题

    修正web端工作流办理页面-允许并发流程,转交下一步选择了结束步骤后再次切换回正常流转流程无反应的问题

    修正流程中心,流程办理时,下一步骤设置允许自动跳过后有多个间隔步骤都会选中问题

    修正流程中心,流程办理时点击预设经办人,打开选择用户控件查看已选用户信息显示错误问题

    修正流程中心,流程办理时点击正文,创建空的word文件接口报错提示加载正文失败问题

    修正流程中心,流程步骤设置了自动选人规则为按表单字段选择,流程办理转交时主办人没有自动获取问题

    修正工作流,用户离职后查询流程图,流程图中的离职用户没有正常显示问题修改

    修正流程中心,流程被删除后在工作销毁查看流程还能发表传阅意见问题

    修正测试工作流/公文-正文,新建流程使用ntko插件打开正文时,和后台查看初始化代码中相关接口异常的问题

    修正流程中心,我的工作,挂起工作中发起人和流程图中办理人被删除的情况下显示错误问题

    修正流程中心,流程查看详情时,流程图中的办理人没有被删除显示已删除问题

    修正设计表单-表单设计器的表单中含有未知异常class名的元素内容,打印功能受到影响显示异常的问题

    修正流程中心,我的收藏,目录名单中没有收藏的流程,在管理收藏目录中无法删除目录问题

    修正流程设计器-经办人设置授权范围,选人控件页面加载人员数据的userId含有特殊符号时,选择相关人员、搜索、部门展示等功能异常的问题

    修正工作流办理页面,ie内核浏览器下选择表单、正文的功能框显示异常无法点击正文的问题

    修正流程中心,工作委托,普通角色用户新建委托规则报错问题

    修正工作流,表单导出和表单归档接口报错问题

    修正web端工作流办理页面,ie浏览器下控件输入框点击失效的问题

    修正流程中心,流程办理时添加关联工作搜索不到关联流程问题

    修正工作流,归档表单和附件到档案中,缺少正文/版式文件/OFD文件等附件问题

    修正windows和国产系统下工作流查看详情页面表单展示问题以及打印的相关问题

    修正web端工作流查看详情页面,打印时表单自定义的文字颜色样式会丢失的问题

    修正web端工作流查看详情页面,ie浏览器下-表单中速卓印章控件的数据在打印时无法正常显示的问题

    修正流程中心,流程报表,报表条件查询中点击导出列表控件数据接口报错问题

    修正流程中心,工作委托,关闭流程和委托人重复的委托规则的情况下不能重新新建问题

    修正工作流正文套红,在国产操作系统下查询套红权限错误问题查看修改

    修正工作流,工作流,图片上传控件,上传接口增加生成略缩图逻辑

    修正web端工作流查看详情页面,ie浏览器下-打印时表单无法铺满页面显示的问题

    修正工作流,工作查询,工作导出查询条件没有生效问题修改

    修正工作流、公文办理页面,点击正文使用ntko插件加载时,点击右下角更多操作出现的功能栏被插件页面遮挡的问题

    修正反馈流程中心,流程查看详情时签名图片显示错误问题

    修正流程中心,工作监控,回退包含委托的步骤时会退给被委托人问题

    修正流程中心,并发的步骤为无主办人会签的情况下,强制合并的步骤合并失效问题

    修正流程中心,流程查看详情时无查看权限的用户可以通过更改流水号查看流程图问题

    修正web端工作流办理页面,鼠标滑动至控件上方显示白色长框的问题

    修正web端工作流查看详情页面,ie浏览器下使用打印预览功能,个别流程表单html结构下的速卓印章控件显示图片位置异常的问题

    修正工作流,数据表单,部分情况下引用数据后无法绑定的问题修改

    修正流程中心,工作查询,勾选流程批量下载时,流程中包含新建后未保存过的流程下载压缩包报错问题

    修正列表控件选择完数据后页面不会关闭问题

    修正流程中心,设计流程,工作移交后流程步骤中的办理人还是移交前的用户问题

    修正流程中心,流程设置,用户同时拥有流程全部和监控权限时,在工作监控中无法结束和删除流程问题

    修正反馈自定义流程查询菜单,导出为EXCEL后自定义列无数据问题

    修正自定义流程查询菜单,根据流程发起日期条件查询的数据列表和全部导出的列表不一致问题

    修正流程中心,工作查询,编辑流程时点击保存提示保存失败问题

    修正流程步骤设计,经办人授权范围(岗位)点击清空后保存,再打开查看内容没有清空

    修正反馈流程中心,请假流程转交时提示参数错误无法转交问题

    修正流程中心,工作查询和工作监控, 搜索条件中选人控件搜索接口搜索不到离职用户问题

    修正办理流程时表格拖拽功能导致表单内容无法复制问题

    修正流程办理时上传多个附件显示不完整问题

    修正工作流文号表达式中获取表单上人员列表宏控件字段的值显示的是用户ID问题

    修正流程中心,流程步骤设置了授权范围(角色)和自动选择本部门内符合条件所有人员时流程图报错不显示问题

    修正流程中心,流程设置,删除流程后未删除相关的会签意见导致新建流程后显示了之前的会签意见问题

    修正流程中心,流程会签意见对应的设计步骤被删除后查看流程时会签意见不显示问题

    修正流程中心,工作流设置,报表设置中部分报表不显示无法删除问题

  • 【行政办公】
  • 新增公告通知,详情摘要功能

    新增公告通知,批量下载功能

    新增投票管理,投票复制导出

    新增合同对比功能

    新增投票管理投票复制功能

    新增行政办公,工作计划,批注和进度日志查询接口增加查询回显附件

    优化行政办公,公告通知管理,新建公告选择人员发布,选人控件去除点击单位名称查询全体用户

    优化投票管理优化票数统计优化导出功能

    优化公告详情页面,底部展示回执信息功能中的具体信息文本框样式效果、底部按钮显示错乱的样式效果

    修正行政办公,公告通知管理,查询公告可以通过修改公告id参数查看无权限的公告问题

    修正行政办公,公告通知管理,公告中部门发布范围包含用户的辅助部门时,查看公告详情提示访问权限不足问题

    修正行政办公,公告通知管理,公告查询中点击查看公告回执情况时填报人包含已删除用户查询报错问题

    修正行政办公, 公告通知管理,公告管理中点击编辑公告提示网络错误问题修正行政办公,新闻管理,点击查询新闻查阅情况已读人员和未读人员以及合计中会显示已被删除的用户问题

    修正行政办公,新闻管理,点击查询新闻查阅情况已读人员和未读人员以及合计中会显示已被删除的用户问题

    修正行政办公,公告通知管理,公告管理中点击查阅情况查询报错显示空白问题

    修正行政办公,新闻管理,勾选新闻查看查阅情况,显示的已读和未读人员与合计数量不一致问题,去除合计中的失效部门人员

    修正行政办公,公告通知管理,公告管理查看回执情况中计算已回执和未回执人员数量错误出现负数问题

    修正行政办公,公告通知管理,修正查阅情况中合计数量与人员名称数量不一致问题,合计数量中去除失效部门中的用户和离职部门用户

    修正行政办公,公告通知管理,公告发布范围设置为全体部门时查看公告接口提示访问权限不足问题

    修正行政办公,公告通知管理列表中可以看到公告点击查看详情或编辑查询报错问题

    修正公告通知未设置发布范围时,点击查看公告通知查询详情接口报错问题

    修正行政办公,公告通知管理发布公告后,填写回执会将其他已读用户置为未读问题

    修正公告通知,公告详情速览后会导致公告里的字段和内容丢失的问题修改

    修正行政办公,公告通知管理,填报人修改回执、回执情况中退回填报人的回执会将其他已读用户置为未读问题

    修正行政办公,新闻管理,勾选新闻点击查看查阅情况,部分情况下已读人员和未读人员都不显示问题

    修正行政办公,工作计划,今日计划中点击查看工作计划详情查询显示空白问题

    修正行政办公,工作计划,参与人、负责人、批注领导在工作计划查询中查询不到问题

    修正公告通知,列表界面样式和系统中的其他列表样式不一致 表格线粗细和对齐的问题

  • 【知识管理】
  • 新增网络硬盘,网络硬盘设置,共享目录和个人目录查询接口增加分页和查询条件参数

    新增网络硬盘设置-管理个人目录,批量新建个人目录按钮点击打开弹出层,和后台对接序号、最大容量、默认排序设置项根据参数设置默认显示的功能

    新增网络硬盘,新增点击事务提醒跳转自动打开到提醒文件或文件夹所在目录

    新增公共文件柜设置接口增加分页和查询功能

    新增知识管理,公共文件柜,文件列表中发布精确到时分秒

    新增网络硬盘,上传文件,增加判断文件名是否符合规则

    新增网络硬盘,页面增加文件上传提示文字

    优化网络硬盘、管理个人目录页面,新建个人目录时显示的弹出层页面定位样式效果

    优化网络硬盘,新建个人目录显示样式效果;调整点击任意目录后,右上角目录操作按钮中隐藏掉新建个人目录按钮

    优化网络硬盘-管理个人目录页面,左侧增加组织-用户树,增加点击组织树展示当前用户是否存在个人目录的功能

    优化网络硬盘-管理个人目录页面,展示当前用户个人目录数据信息列表右侧操作列的按钮功能调整

    优化网络硬盘-管理个人目录页面,增加默认分页展示已创建个人目录的表格;修正限制容量、默认排序显示数据异常的问题

    优化网络硬盘-共享目录页面,调整数据表格、分页功能的加载样式效果;调整加载数据的接口,展示共享目录数据的表格增加分页显示的功能

    优化公共文件柜设置,设置文件夹权限,授权范围(部门)设置勾选上的顺序与再次进入页面时,部门名称显示的顺序不一致

    优化公共文件柜和网络硬盘新建样式

    优化网络硬盘,右上角按钮权限都设置后,会出现折行遮挡底部文件区的效果

    优化网络硬盘,文件名称中有逗号会导致浏览器无法正常接收流数据问题修改

    优化网络硬盘设置,处理批量设置权限中选项设置的样式效果

    修正知识管理,公共文件柜设置,新建文件夹提示报错问题

    修正网络硬盘,批量创建个人目录接口创建的目录名字和路径不正确问题

    修正网络硬盘,批量新建,根据部门新建报错问题

    修正知识管理,公共文件柜新建文件时发送短信提醒报错会导致用户登录状态失效问题

    修正网络硬盘,onlyoffice文件在线预览,兼容通达升级上来的用户使用网络硬盘预览错误的问题

    修正文件柜,修改门户查询构建树形目录信息接口逻辑导致的部分情况下会让主页卡死的问题

    修正网络硬盘-管理个人目录页面,点击左侧目录树中的用户显示个人目录数据传输userId异常的问题

    修正网络硬盘,网络硬盘设置编辑网络硬盘权限报错导致无法保存问题

    修正网络硬盘,使用onlyoffice编辑文件,部分情况下会出现保存报错问题修改

    修正知识管理,公共文件柜,文件的附件删除完后,没有历史版本按钮问题

    修正网络硬盘,修改无法在二级目录复制粘贴文件的问题

    修正知识管理,公共文件柜设置,点击分页页数后再根据文件夹名称查询无数据问题

    修正知识管理,公共文件柜设置,设置文件夹权限,添加部门授权范围会丢失其他部门问题

    修正知识管理,网络硬盘,预览EXCEL文件提示文件加载失败问题

    修正公共文件柜,编辑文件,富文本框添加图片后不显示

    修正公共文件柜,富文本添加图片,查看页面图片不显示

  • 【人力资源】
  • 新增考勤管理循环班制

    新增人力资源,人事档案,新建用户档案时新增的用户禁止登录OA和手机APP

    新增人力资源,薪酬管理,导入工资后增加二次确认

    新增人力资源,薪酬管理,工资管理,工资数据管理和奖金数据管理导入数据后新增确认本次导入数据

    新增人力资源,合同管理,合同到期提醒定时任务,到期前提醒合同设置的提醒人员

    新增人力资源,考勤管理,考勤排班管理,启用、停用排班接口增加记录排班详情系统日志

    新增人力资源,考勤管理,考勤排班管理,新增、编辑、删除排班接口增加记录排班详情系统日志

    新增工作计划管理和工作计划查询增加查看领导批注和进入日志功能

    新增人力资源,考勤管理,考勤设置新增查询所有待审核的人脸照片

    新增人力资源,考勤管理,考勤设置新增查询指定用户的人脸照片详情

    新增人力资源,考勤管理,考勤设置新增审核人脸照片接口,审核后发送事务提醒给被审核用户,并支持一键审核

    新增人力资源,考勤管理,考勤设置上传人脸照片接口支持有考勤设置菜单权限的用户可以编辑其他用户的人脸照片

    新增人力资源,考勤管理,考勤设置查询待审核的人脸照片接口增加分页和返回人脸照片预览地址

    新增人力资源,考勤管理,考勤设置,新增查询用户考勤常用手机

    新增人力资源,考勤管理,考勤设置,新增考勤常用手机新建

    新增人力资源,考勤管理,考勤设置,新增考勤常用手机解绑

    新增人力资源,考勤管理,考勤设置,新增考勤常用手机查看详情

    新增人力资源,考勤管理,新增设置考勤常用手机数量接口

    新增人力资源,考勤管理,新增查询考勤常用手机管理用户列表和每个用户的已绑定手机数量

    新增人力资源,考勤管理,新增向有权限的用户发送解绑考勤常用手机事务提醒

    新增人力资源,考勤管理,新增打卡修改结果接口,支持异常情况修改打卡时间或忘记打卡进行补卡

    新增个人事务,个人考勤,APP打卡详情中增加显示关联的请假、外出、加班、出差、调班考勤流程

    优化人事档案-人事档案查询,详细信息页面显示附件文档

    优化人力资源-绩效考核-进行考核,存在相同的总分数可以进行提交

    优化人力资源-绩效考核-考核任务管理,新建考核任务管理,考核试卷下拉框只展示了10条选项

    优化人事档案-绩效考核,注释掉“保存分数有全部相同分数”代码

    优化人事档案-绩效考核,注释掉“总分中存在重复分数”代码

    优化人力资源,人事管理,证照管理中修改证照信息,增加判断证照编号包含脱敏关键字且其余值一致时不修改编号

    修正人力资源,考勤管理,考勤统计中计算加班小时数不满一小时不会统计问题

    修正人力资源,人事档案查询后的数据点击编辑,编辑页面无返回按钮只能保存

    修正人事管理,考勤管理,考勤统计中导出Excel文件的文件名日期后缀错误问题

    修正人力资源,人事档案,编辑人事档案时可以修改用户的角色进行提权问题

    修正人力资源,人事档案,新建用户档案后保存提示新建失败问题

    修正人力资源,薪酬管理,工资查询设置中包含多条下属员工设置规则时查询报错,导致个人事务,工资查询中不显示下属工资和奖金数据问题

    修正人事管理-合同管理页面,后台接口返回数据生成列表展示效果异常的问题

    修正人力资源,人事档案,兼容模式下导入人事档案后响应结果提示下载文件问题

    修正人力资源,人事档案,导入人事档案中的用户角色在系统中存在多个时导入报错问题

    修正人力资源,部分用户在人事档案管理中可以看到姓名,在人事档案查询和详细信息中没有姓名问题

    修正人力资源,人事管理,档案查询,查询/导出在职人员档案中部分用户没有姓名问题

    修正人力资源,人事管理,人事档案查看详情时显示的员工类型和编辑时不一致问题

    修正查看反馈人力资源,人员调度只能查到部分用户问题

    修正人力资源,合同管理,修改合同信息试用截止日期无法清除问题

    修正反馈人力资源,考勤管理,编辑考勤类型的用户范围会丢失个别用户导致不能打卡问题

    修正任务管理,我的任务中创建任务后,设置的其他参与人看不到这个任务问题

    修正人力资源-绩效考核,考核项目明细权重设置,权重小数点保留2位

    修正修正人力资源-绩效考核-被考核人自评,当考核人有多人时,会出现多条填写栏

    修正人事档案-绩效考核-考核任务管理,显示人员页,不显示考核得分

    修正人事档案-绩效考核-考核任务管理,显示人员页-导出明细,“完成百分比列”数值错误

    修正人力资源,考勤管理,考勤人脸打卡照片审核和考勤常用手机解绑事务提醒不显示问题

    修正人力资源,考勤统计中,请假流程名称中未包含请假关键字的流程不显示问题

    修正人力资源,人事管理,证照管理身份证号未脱敏问题,增加判断证照编号是身份证号时进行脱敏显示

  • 【资源管理】
  • 新增办公用品-办公用品库存管理,库存调拨功能

    新增会议管理,非系统管理员角色人员为会议管理员和会议室不需要审批时,修正根据状态获取会议的数量

    新增资源管理,资产管理,资产登记中新增查询保管人已确认资产

    新增车辆使用申请管理,车辆使用申请,司机可根据输入内容进行筛选

    新增资源管理-车辆使用管理,车辆到期提醒定时任务,到期前提醒车辆设置的保管部门的部门负责人

    新增资源管理-车辆使用管理,车辆表新增到期提醒字段,新增、编辑可以保存是否到期提醒

    优化办公用品-库存盘点,库存盘点页面、详情页面分页样式

    优化办公用品-库存盘点,详情页面盘点名称搜索框样式

    优化网络硬盘,网络硬盘树结构查询接口,调整排序方式,置顶个人目录

    修正会议申请,申请视频会议时,审批自动通过,会重复创建会议参会及查阅情况

    修正办公用品修改提示失败问题,判断审批后不能修改或取消

    修正会议管理,非系统管理员角色人员为会议管理员和会议室不需要审批时,会议管理查询无数据

    修正资源管理办公用品申领,点击返回后到申领记录页面,想再新建办公用品申请没有相关操作按钮

    修正会议管理浏览器兼容模式报错不显示数据

    修正网络硬盘设置,公共/个人网盘目录,分页总数问题

    修正资源管理-办公用品库管理,表格中所属部门、仓库管理员、物品调度员,字段过长导致看不完整,增加鼠标移动显示全部内容

    修正资源管理-申请暂存提交页面,无数据的情况下隐藏提交按钮并提示暂无数据

    修正资源管理-库存维护页面,新建成功后库存数量后面的相关提示文字还在

    修正资源管理,固定资产管理,资产导入上传导入模板后部分字段类型不兼容导致导入失败问题

    修正资源管理,固定资产管理,资产导入成功后,导入模板中的保管人和是否是固定资产两列没有导入问题

    修正资源管理,办公用品库管理表格,超出宽度省略字段增加鼠标悬浮显示全部内容

    修正资源管理,会议管理,会议查询列表中点击查询会议室接口报错问题

    修正进销存管理-商品库存,不能分页查询

    修正资源管理,会议管理,参会情况导出应到人数和查询的不一致问题

    修正资源管理,车辆使用管理,车辆信息管理中点击后续分页查询报错问题

    修正资源管理,资产管理,资产清单中查询资产列表时部分资产名称显示错误问题

    修正车辆申请,设置车辆申请业务应用接口逻辑后,申请车辆不自动生成车辆申请流程

  • 【公文管理】
  • 新增公文查询页面,支持按照流程名、流程发起人排序,相同的排在一起

    新增公文查询和公文监控 根据流程名查询时增加输入搜索功能

    新增公文管理,增加收发文编号字段,在新建发文和新建收文的时候进行设置

    新增公文管理,增加收发文编号控件数据查询

    新增文档校验页面,展示盖章步骤的流程名称功能

    新增公文起草校对,可以实现对选中正文内容进行公文校对

    新增公文智能撰写,可以实现对选中正文内容进行公文撰写

    新增公文管理,发文/收文待办界面增加公文编号查询

    新增公文管理,公文查询/监控界面增加公文编号查询

    优化鸿蒙公文查看正文方法

    优化工作流,流程分享增加正文分享判断

    优化公文管理,公文待办列表查询接口增加重复标题判断

    优化公文管理,公文查询接口增加标题重复判断;公文发文/收文/查询列表界面增加对接展示重复公文标题

    优化公文办理页面-更多操作-文件下载,调整表单文件、公共附件和正文文件的数据分类展示的代码

    优化公文正文归档时支持ofd文件归档

    修正公文管理,公文监控中委托公文,被委托人收到的事务提醒在工作流类型里的问题

    修正公文管理,已办发文/收文,传阅文件接口部分情况下会出现报错问题

    修正公文管理,已办发文/收文,传阅文件后部分情况下查询列表不显示传阅情况问题

    修正公文管理,结束节点转交时选择了传阅人,在待阅事宜中看不到传阅的公文问题

    修正公文管理,我的发文和我的收文查询接口报错问题

    修正公文管理,发文管理,我的发文中状态选择未接受时查询报错问题

    修正公文管理,公文检索查询接口排序错误问题修改

    修正公文管理,我的发文,查阅情况,修正未读人员或已读人员中会显示重复的用户问题

    修正反馈公文管理,公文办理时当前步骤没有可写权限的字段显示可写问题

    修正公文管理,文件下载,没有返回正文文件问题修改

    修正查看已办收文,一直在加载中

    修正公文管理 公文查询优化公文标题过长时显示不全问题

  • 【档案管理】
  • 优化档案管理-文件管理,页面调用查询案卷接口逻辑

    修正档案管理-文件管理,编辑文件页面,所属案卷会出现重复选项

    修正档案管理-文件管理,显示其他没有权限的案卷数据

  • 【督察督办】
  • 新增督察督办,督办管理,督办任务管理中反馈情况列表操作增加修改和删除操作

    修正督察督办,督办管理,新建督办后任务状态错误导致无法发表反馈问题

    修正督察督办,督办管理,督办任务列表中的状态描述错误问题

    修正督察督办,督办管理,办理时新增责任领导未签收不允许办理

    修正督察督办,督办任务,未接收、处理中督办任务列表查询错误问题

    修正督察督办,督办任务,责任领导签收任务后任务还显示未接受且在未接受列表问题

    修正督察督办,督办管理,有办理按钮权限点击办理提示没有权限办理问题

    修正督察督办,督办任务,办理中的督办发表反馈时完成百分比填写小数提交报错问题

    修正督察督办,督办分类中所属部门设置为全体部门时,督办管理看不到分类问题

    修正督察督办,督办管理,修正编辑督办任务更改责任领导保存后责任领导不显示问题

    修正督察督办,督办管理,新增督办任务在发布后还未接收时允许编辑

  • 【CRM客户管理】
  • 新增CRM客户管理模块 供应商管理页面 新建、编辑、详情增加预览功能 支持kkfileview

    新增客户公海功能

    新增权限设置-销售工作台权限功能

    新增公海设置功能

    优化CRM客户管理模块 供应商管理页面编辑、详情页面缩放 备注表格错乱

    修正CRM客户管理模块 销售工作台页面编辑页面问题

    修正CRM客户管理模块 供应商管理页面 文件类型为图片时 上传可以预览 回显附件预览失败

  • 【设备管理】
  • 修正设备管理,设备盘点,新建盘点计划,选择了盘点部门后再选择设备,查询设备报错问题

  • 【党建平台】
  • 修正党建平台-入党审核-积极分子申请审核页面无数据

    修正党建平台,提交积极分子申请,生成流程带不过来数据

  • 【AI决策分析中心】
  • 新增AI决策分析中心,可以通过调用AI去生成一些查询内容或者是报表

  • 【系统管理】
  • 新增系统集成设置-AI应用设置功能,可以控制AI功能总开关,关闭、开启

    新增系统信息展示界面,增加新组件信息展示

    新增系统管理,用户管理,用户表增加删除标记字段,删除用户接口中改为标记删除不要真删除

    新增系统管理,用户管理,查询用户接口支持查询已删除用户

    新增系统管理,用户管理中增加已删除用户页签,允许彻底删除用户

    新增飞书同步,用户同步,增加恢复删除/离职人员API对接和同步接口逻辑

    新增系统管理,系统参数设置,是否采用国密算法加密开关

    新增速卓印章,印章管理页面保护密码调整为保密展示,右侧增加点击重新生成6位随机密码的按钮

    新增系统信息查询,获取注册文件的可选组件信息

    新增印章管理-速卓印章页面,根据可选组件是否存在“速卓电子印章”组件,显示或隐藏“添加印章”按钮的功能

    新增印章管理-速卓印章页面,根据可选组件是否存在“OnlyOffice盖章文档密码锁组件”,新建和编辑印章时是否显示“密码保护”相关设置项的功能

    新增国密SM4加密和解密接口,根据附件目录下密钥文件进行加密或解密内容

    系统管理,用户管理,新增用户、修改用户、导入用户时身份证号增加判断使用国密加密

    系统管理,用户管理,查询用户信息时身份证号解密显示

    系统管理,用户管理,新增批量将系统中用户的身份证号使用国密加密接口

    新增系统管理,用户管理,用户导入模板增加辅助角色列,用户导入接口增加导入辅助角色和添加对应的菜单权限

    新增印章管理,增加速卓印章高度和宽度字段

    新增印章管理,速卓印章新建、编辑印章,增加设置印章图片在使用onlyoffice插件盖章功能时,盖章图片大小的设置项

    新增印章管理,已创建的速卓印章数据控制盖章图片大小的设置项数据回显功能

    新增系统管理,系统日志管理,日志查询中日志类型新增考勤排班管理类型

    新增系统管理,用户管理,新建、编辑用户增加考勤类型

    优化飞书同步,飞书部门同步接口,兼容飞书删除部门后OA不同步,再次同步会报错的问题

    优化系统管理,系统日志管理中查询日志限制最多显示2000条记录,导出时去除限制可以按条件导出全部日志

    优化飞书同步,部门同步,部门更新数据增加增量同步和兼容错误数据

    优化用户的编辑页面,单行和多行文本框、下拉菜单、a链接按钮、表格的样式效果

    优化飞书同步用户,飞书用户离职后再重新同步会出现报错导致无法同步的问题兼容

    优化速卓印章管理,列表查询,兼容多次翻页后再进行查询会出现无法查询到结果的问题修改

    优化速卓印章管理,新建印章,部分情况下request参数问题会导致报错无法新建的问题修改

    优化界面设置,用户自定义模板背景功能

    优化印章管理,查询印章接口,兼容不正常的部门数据导致的查询失败的问题

    优化印章管理,创建印章接口,兼容线程创建印章导致的部分情况下变量丢失的问题

    优化用户管理,修改排序号大小限制

    修正系统管理,系统资源管理,邮件监控查询不显示问题

    修正系统管理,部门管理中修改部门的上级部门未修改排序号导致提示部门排序号不能重复问题

    修正系统管理,用户管理,左侧部门树结构下用户列表会显示已经逻辑删除的用户问题

    修正修正系统管理,用户管理中输入的身份证号码少于16位会显示为密文问题

    修正系统管理,部门管理,部门批量设置无法点击删除部门主管或助理问题

    修正系统管理,角色与权限管理,角色列表中用户数和查看详情中的用户数不一致问题

    修正系统管理,角色与权限管理,角色用户数查看详情中会显示被逻辑删除的用户问题

    修正系统管理,数据源管理,编辑内部数据源字段列表显示不全问题

    修正系统管理,用户管理,勾选用户删除时用户为在线用户接口提示报错问题

    修正系统管理,用户管理,点击左侧部门树,部门下包含空密码用户时报错问题

    修正用户同步离职再入职人员兼容逻辑不生效问题修改

    修正系统管理,角色与权限管理中添加/删除辅助角色接口未判断权限,导致可以利用该漏洞进行越权操作问题

    修正速卓印章管理页面,设置onlyoffice盖章大小参数单位为px时,不同分辨率下px转换为实际印章大小有差异,导致加载印章大小错误的问题

    修正用户自定义模板背景功能中文报错问题

    修正系统管理,角色与权限管理,角色导入上传模板后报错问题

    修正印章管理,编辑印章后重新输入编辑权限新密码无法生效问题修改

    修正系统管理,用户管理,编辑用户生日为空的情况下编辑接口报错问题

    修正系统管理,数据库管理,勾选数据库表后批量导出选中表结构和数据无法导出问题

    修正系统管理,系统资源管理,邮件监控,收件人查询条件不生效问题

    修正系统管理,部门管理,部门设置为失效部门后下级部门显示为一级部门问题

    修正用户调换部门会选择失效部门问题

    修正系统管理,用户管理,设置多个部门查询条件后点击导出,导出了所有用户问题

    修正工作日志设置模版后,每次刷新,值都会变

    修正系统类型事务提醒内容不显示问题

    修正系统类型事务提醒,在企业微信PC客户端打开后跳转的是系统主页问题

    修正用户同步定时任务执行后,部分用户的信息没有更新问题

  • 【PC客户端】
  • 新增PC客户端会话列表中,群聊名称后增加显示群聊的总人数

    新增im聊天,根据群组获取群员,增加返回人员在线状态和排序人员信息

    新增OA精灵-通过群聊聊天窗口打开的群聊成员页面,增加在线人员显示标识的功能

    新增OA办公精灵 新增 聊天记录页面 文件聊天记录 显示操作按钮 删除 复制名称

    新增PC客户端、APP会话,新建群接口和管理群接口中增加全体禁言设置和全体禁言后可发言用户设置

    新增PC客户端、APP会话,查询会话列表中群聊信息接口和点击查询单个群聊接口增加返回全体禁言设置

    新增PC客户端、APP会话,群聊中发送消息增加判断群聊是否设置全体禁言和当前用户是否为群主或在可发言用户范围

    新增PC客户端、移动端APP,会话点击编辑时查询群聊信息接口增加回显全体禁言后可发言用户的用户名称

    新增PC客户端,移动端APP,会话查询群聊列表接口和查询单个群聊接口增加判断当前用户是否显示禁言

    新增PC客户端获取消息历史记录接口增加返回全体禁言设置和判断当前用户是否禁言标识

    优化PC客户端退出群聊的接口增加判断是自己移除自己,描述改为退出了本群

    优化OA精灵-管理群组页面,处理讨论群组名称列的数据调整为不可点击的状态;处理鼠标滑动至该列数据上的样式效果

    优化im聊天,查询缓慢问题修改

    优化OA办公精灵 聊天记录页面 删除和复制改为右下按钮操作 鼠标离开聊天记录内容区域 删除复制按钮隐藏

    优化IM聊天记录查询接口慢sql

    优化聊天文件撤回问题,撤回后,文件夹的文件也要跟着删除功能

    优化PC群聊禁言功能选择人员只能选择当前群组成员

    优化速卓印章管理页面,oa精灵下加载页面编辑印章数据的权限后保存接口返回异常增加相应提示的功能

    修正在PC客户端登录时,输入用户名不存在的情况下未返回系统版本号导致提示错误问题

    修正测试人员反馈OA精灵,群聊、单聊的消息记录页面加载消息时间格式错误,无法加载秒和个别消息分钟异常的问题

    修正测试人员反馈OA精灵,单聊消息记录页面向上滚动滑轮加载下一页数据功能异常的问题

    修正PC客户端邀请用户加入群聊消息中邀请人显示错误问题

    修正PC客户端组织,在线人员中的部门排序不正确问题

    修正发送事务提醒的用户被删除后,PC客户端右下角不显示事务提醒问题

    修正PC客户端群聊创建人退出群后,群成员在群聊中发送消息会提示错误问题

    修正OA精灵网络硬盘编辑中文文件名的word报错问题

    修正在线人员超过500时,PC客户端点击显示在线人员提示错误问题,优化显示在线人员查询效率

    修正PC客户端,会话中群聊点击群聊名称,修改后会将群聊的总人数保存到名称中问题

    修正PC客户端打开会话窗口不显示数据问题和群聊不显示头像以及用户信息问题

    修正PC客户端修改群聊,清空禁言后指定可发言人员不生效问题

    修正印章管理,在OA精灵下的爱帆浏览器会出现接口返回数据错误问题修改

    修正反馈PC客户端,系统管理,用户管理,点击批量用户个性设置会弹出提示和闪退问题

    修正OA精灵印章管理多次点击选人控件403问题

  • 【APP端应用】
  • 新增移动端APP,会话新增群主点击群聊后设置群聊全体禁言开关和禁言后允许发言用户设置

    新增移动端工作流办理页面-数据选择控件,仿照网页端的功能效果兼容增加相应的功能

    新增工作流,增加经办人提醒主办人功能逻辑

    新增移动端工作流办理页面,根据增加的“挂起”权限在底部流程操作区增加相应按钮;显示/隐藏该按钮权限和按钮名称的逻辑功能

    新增移动端工作流办理页面,流程挂起功能

    新增移动端工作流办理页面,处理表单选择控件渲染的代码逻辑完成控件相应的显示功能

    新增移动端工作流办理页面,增加点击表单选择控件按钮打开查询相关设置流程类型流程的页面功能

    新增APP个人事务,个人考勤,查询公司考勤统计接口支持周统计和月统计

    新增APP个人事务,个人考勤,我的考勤统计接口支持周统计和月统计

    优化移动端工作流查看详情页面,会签意见栏内部整体html结构、样式优化,点击切换会签意见类型的逻辑代码优化

    优化移动端下加载工作查询页面,增加展示工作名称/文号的功能;将流程名称调整至下方显示

    优化移动端工作流办理页面,和原生开发配合去除掉原生的加载逻辑,增加正在加载页面loading的功能逻辑避免页面空白时间过长

    修正APP会话,群聊设置中点击消息免打扰接口报错提示设置失败问题

    修正移动端工作流查看详情页面,表单中存在自动编号控件时,处理自动编号功能的代码逻辑异常导致流程表单无法正常加载的问题

    修正移动端工作流查看详情页面-新建未保存数据的流程,自动编号控件-已保存的数据回显加载的代码逻辑异常导致流程表单无法正常加载的问题

    修正移动端,我的,编辑个人资料,点击保存没反应问题

    修正反馈用户网页端能登录,使用APP登录报错问题

    修正我的中编辑个人资料接口可以通过传递参数修改当前用户的角色问题

    修正移动端工作流-自由流程,非第一步流程点击同意/拒绝加载的填写意见页面时,底部转交按钮在ios端app中原生的会签意见功能栏挡住的问题

    修正在移动端办理页面,富文本格式的多行文本框控件设置不可写字段时,已保存的控件数据显示空的异常问题

    修正在移动端办理页面,富文本格式的多行文本框控件设置不可写字段时,流程表单数据保存异常的问题

    修正安卓端app下加载移动端工作流办理页面,底部的流程图按钮点击无反应的问题

    修正产品h5工作查询 点击查询后无反应问题修正

    修正移动端工作流办理页面,数据选择控件打开弹出层选择数据列表添加后,设置多个映射关系的控件不会都被赋值的问题

    修正移动端工作流办理页面,数据选择控件选择相应的数据进行表单控件赋值后,弹出层不会自动关闭的问题

    修正移动端工作流查看详情页面,表单中存在手写签字控件时会重复显示的问题

    修正移动端工作流查看详情页面,设置委托权限的流程底部功能操作区域委托按钮不显示的问题

    修正移动端下工作流办理页面,hh:mm类型格式的时间选择控件功能异常的问题

    修正移动端工作流办理页面,部门选择控件点击打开的选部门控件弹出层点击确定无法关闭的问题

    修正ios获取不到附件问题

    修正获取移动端打卡页面所需数据接口当天没有关联的考勤流程情况下查询报错问题

    修正移动端上传人脸打卡照片时部分用户提示无权限问题

    修正移动端人脸打卡接口修改,使用审核成功的人脸照片匹配打卡

    修正移动端点击OA流程待办提醒跳转的是PC端的表单页面问题

  • 【企业微信端】
  • 优化企业微信,提醒发送逻辑优化,增加应用获取token失败的情况兼容

    优化企业微信,跳转提醒详情,兼容没有跳转指定应用的情况下自定义跳转界面会403的问题

    修正企业微信端加载工作流查看详情页面,设置调整字体后底部操作区的按钮布局错乱的问题

    修正企业微信端工作流查看详情页面,安卓端设备下加载页面调整右上角的“调整字体大小”功能后,页面字体变化导致页面布局错乱的问题

    修正企业微信端工作流查看详情页面,安卓端设备下加载页面调整右上角的“调整字体大小”功能后,页面字体变化导致会签意见栏布局错乱的问题

    修正系统类型事务提醒没有推送到企业微信问题

  • 【安卓客户端】
  • 新增判断个人考勤版本,兼容旧版本与新版本

    新增个人考勤功能

    新增支持在线预览、WPS个人查阅、分享,且下载附件成功后再次打开可直接查看

    新增支持MP3、MP4文件在线预览

    新增首次安装并打开时,先弹出网络配置界面,焦点自动定位至网址1,输入网址1后自动选择下方网址1,保存时提示选择当前组织

    新增日程安排-新建/编辑日程页面,添加参与者、所属者的选人功能及接口

    新增日程安排中,仅所属者可编辑/删除日程

    新增网络硬盘中添加搜索功能

    新增开启传阅允许填写会签意见后,办理完毕的流程根据feedbackPriv字段判断是否进行会签

    新增小卓功能的开关接口,应用中增加卓知对话入口

    新增集成荣耀手机推送功能

    新增设置页面添加是否开启全员禁言的功能

    新增我的-实用工具,添加熊猫扫描、智慧日历

    优化工作流及工作表单页面加载时间过长

    优化个人考勤所有页面无数据时添加提示

    优化小卓AI中请假按钮无法点击,界面卡死

    优化个人考勤打卡位置精确至当前小区

    修正我的-电子签名-签名-拍照签名时,应用运行中索取麦克风等权限未同步告知使用目的,不符合相关法律法规要求

    修正在隐私政策中以加粗字体、增大字号、醒目颜色等方式突出展示APP处理的个人敏感信息

    修正沟通-会话列表中点击视频的在线预览无法打开

    修正我的-文件中心中,视频类文件点击后闪退

    修正一加手机无法收到推送

    修正即时通讯中发送的文件加载时,若手机/平板息屏会重新加载,导致文件无法及时加载完成

    修正手机端无法打开.wps文件

    修正网络硬盘不传路径时无法进入文件夹

    修正三星S24U手机无法登录

    修正首页-扫描资产盘点二维码时闪退

    修正小卓AI首次运行时未播报(文字为“今天工作辛苦了”),第二次运行才播报

    修正社区-新建动态发布模块中点击“请选择”时闪退

    修正多次在线预览同一Onlyoffice文件后无法打开

    修正沟通-会议中点击腾讯云视频会议列表时闪退

  • 【iOS客户端】
  • 新增沟通群聊群主添加禁止发言按钮

    新增沟通群聊中开启禁止发言后,群主可添加允许发言人员

    新增日程安排-新建/编辑日程页面,添加“所属者”“参与者”的选人功能

    新增网络硬盘模块添加文件搜索功能

    新增签到功能改版,包含签到统计、个人签到设置模块

    新增应用左上角添加卓知对话入口

    新增群聊基础禁止发言功能(支持对单个成员执行禁言操作)

    优化聊天设置页面,创建禁止发言人员选择界面

    优化全体禁言功能,开启后可直观展示允许发言的用户及对应用户名称

    优化选人控制器,单独新增“允许发言人员”选择入口(与普通选人区分)

    优化群聊设置流程,选择“全体禁言”后可直接触发“添加允许发言人员”操作

    优化全员禁言相关界面,调整文字展示样式为居中显示

    修正APP流程打开正文内容时,手机端无法查看正文

    修正工作流办理过的流程,手机端不支持会签操作

    修正工作流页面点击“输入会签意见”无反应,无法弹出意见输入弹窗

    修正所有功能模块上传图片时,页面显示空白

    修正工作流设置正文内容后,页面不显示正文功能入口或正文内容

    修正个人事务模块中新闻内容显示异常

    修正首页进行请假申请时,选择“请假原因”会触发报错

    修正个人考勤-设置页面,修改考勤设置保存后会清空原有设置;重新设置后点击“保存”,APP会崩溃

    修正首页待办消息中,未知模块未添加标题

    修正会话设置中开启“消息免打扰”后,返回会话页面查看免打扰状态为“关闭”;再次尝试打开时提示“操作失败”

    修正网络硬盘中文件夹路径出错时,未弹出错误提示

    修正个人事务-个人文件柜上传文件,超过5M的文件上传不成功

    修正会话中发送图片和文件后,在“聊天文件与图片”模块及查询聊天记录时,无法看到对应内容

    修正应用页面中新建工作日志时触发报错

    修正首页-个人考勤打卡时,显示的打卡时间错误

    修正新闻详情页面中文字和图片之间空白区域过多

    修正待阅模块不支持查看正文内容

    修正社区模块不显示默认板块

    修正全员禁言界面点击“设置”按钮后返回,全员禁言相关文字无法显示

    修正创建群聊时会重复创建两个相同的群聊页面

    修正新建群聊设置禁言后,用户仍可点击输入框发言,但发送内容时APP会闪退

    修正创建新群聊后,其他成员收不到群聊创建的通知信息